Профиль для подвесного потолка
Описание: Неcущий профиль Т24
Поперечный профиль Т24
Угловой профиль
Регулируемый подвес
Подробнее:
Потолок Армстронг состоит из лёгких минераловолокнистых плит, которые укладываются на металлический каркас, состоящий из металлических профилей с системой подвесов. Пристенный металлический уголок обеспечивает плотное прилегание подвесной потолка к стенам отделываемого помещения.

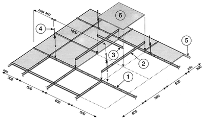
Порядок сборки и схема сборки:
- На нужном расстоянии от базового потолка по всему периметру помещения устанавливается угловой профиль (5).
- К базовому потолку крепятся потолочные подвесы (4).
- На подвесы крепятся несущие (основные) профили (1). Между собой основные профили сращиваются с помощью замковых соединений.
- Поперечные профили (2) и поперечно-секционные профили (3) закрепляются в несущих профилях (1) и формируют ячейки размером 600х600.
- В готовую конструкцию укладываются минераловолокнистые потолочные плиты (6) и светильники.





